当前位置 :首页>技术资源

JAK/STAT信号通路PCR阵列-人

发布者:pcrarray专业PCR芯片网 时间:2017-11-24 浏览量:1229


产品介绍:

JAK/STAT通路是少数多效级联反应之一,用于转导从人类到苍蝇等动物发育和稳态的多种信号。在哺乳动物中,JAK/STAT通路是多种细胞因子和生长因子的主要信号传导机制。在细胞因子与其同源受体结合后,STATsJAK酪氨酸激酶家族的成员激活。一旦被激活,它们就会二聚化并转移到细胞核并调节靶基因的表达。除了激活STATJAK还介导其他分子的募集,例如MAP激酶、PI3激酶等。这些分子通过Ras-Raf-MAP激酶和PI3激酶途径处理下游信号,从而激活额外的转录因素。

沃吉基因JAK-STAT信号通路PCR阵列包含JakStat家族成员、激活受体、核因子及调节的下游通路基因的关键90个基因。

WCGENE®PCR Array Plate操作简单。只需要将cDNAqPCRmix混匀,然后加入每个孔里,上机检测,即可通过分析qPCR结果找到样品中差异表达的基因。具有重复性高,灵敏性强,操作便捷等特点。为实验研究者节省了预实验、引物验证、文献选择基因等繁琐的过程,可以直接了解不同信号通路或疾病中关键基因的差异情况。

检测原理:实时定量荧光PCR即通过实时检测 PCR 每一个循环扩增产物相对应的荧光信号,来实现对起始模板进行定量及定性的分析,本实验采取 SYBR 荧光染料法,在 PCR 反应体系中,加入 SYBR 荧光染料,SYBR 荧光染料特异性地掺入 DNA 双链后,发射荧光信号,而不掺入链中的 SYBR 染料分子不会发射任何荧光信号,从而保证荧光信号的增加与 PCR 产物的增加完全同步。


 操作流程

产品内容

    属:

Human

               号:

wc-mRNA0084-H

    格:

96孔板

    法:

SYBR Green

    牌:

Wcgene® biotech

    品:

96孔引物预置板封板膜,说明书

    存:

-20℃

有效期:

六个月

生产日期:

见外包装

使用限制:

本产品仅供科研使用,不应用于诊断、预防和治疗疾病。


基因列表

Human

1

2

3

4

5

6

7

8

9

10

11

12

A

A2M

AKT1

AKT2

AKT3

BCL2L1

CCND1

CDKN1A

CEBPB

CEBPD

CRK

CRP

CSF1R

B

CXCL9

EGFR

EPO

EPOR

F2

F2R

FAS

FCER2

FCGR1A

GATA3

GHR

GRB2

C

IFNA2

IFNAR1

IFNG

IFNGR1

IL10RA

IL1R1

IL20

IL2RA

IL2RG

IL4

IL4R

IL6ST

D

INSR

IRF1

IRF9

ISG15

JAK1

JAK2

JAK3

JUN

JUNB

LRG1

MCL1

MPL

E

MYC

NFKB1

NOS2

NR3C1

OAS1

OSM

PDGFRA

PIAS1

PIAS2

PIAS3

PIAS4

PRL

F

PRLR

PTPN1

PTPN11

PTPRC

SH2B1

SMAD1

SMAD2

SMAD3

SMAD4

SMAD5

SOCS1

SOCS2

G

SOCS3

SOCS4

SOCS5

SP1

SPI1

SRC

STAM

STAT1

STAT2

STAT3

STAT4

STAT5A

H

STAT5B

STAT6

STUB1

TYK2

USF1

YY1

ACTB

GAPDH

HPRT1

18S

NTC

NTC

 

基因分类(Human

相关基因

JAK & STAT 蛋白

JAK1,JAK2,JAK3,TYK2;STAT1,STAT2,STAT3,STAT4,STAT5A,STAT5B,STAT6;PIAS1,PIAS2,PIAS3,PRL,PTPN1 ,PTPRC,SOCS1,SOCS2,S

OCS3,SOCS4,SOCS5;CSF1R,EGFR ,EPO,EPOR,F2R ,GHR,IFNAR1,IFNAR2,IFNGR1,IL10RA,IL2RA ,IL2RG,IL4R ,IL6ST ,INSR,MPL,

PDGFRA;CRK,GRB2,SH2B1,SRC,STAM

STAT-Interacting转录因子与调控

CEBPB,GATA3,IRF1,IRF9,JUN,JUNB,NFKB1,NR3C1 ,SMAD1 ,SMAD2 ,SMAD3 ,SMAD4 ,SMAD5 ,SP1,SPI1,USF1;PIAS1,PIAS3,YY1

STAT-Induced

CXCL9 ,IRF1,JUNB,NOS2 ;A2M,BCL2L1 ,CCND1,CCND2,CDKN1A ,CEBPD,CRP,FAS,IRF1,LRG1,MCL1,MYC,SOCS1,SOCS3;FCGR1A,

IFNG,IRF1,MYC;BCL2L1 ,CCND1,CDKN1A ,IL2RA ,IRF1,OSM;FCER2,GATA3,IL4,IL4R ;ISG15,OAS1

细胞凋亡

AKT1,AKT2,AKT3,BCL2,BCL2L1 ,CDKN1A ,F2 ,F2R ,FAS,IL2RA ,MCL1,NFKB1,PRLR,STAT1.

细胞周期

CCND1,CDKN1A ,EGFR ,F2 ,F2R ,IL2RA ,IRF1,JAK2,MYC,STAT1.

细胞生长

A2M,EGFR ,GHR,IFNG,IL4,INSR,OSM,SOCS1,SOCS2,SOCS3,SOCS4,SOCS5.

细胞增殖

CSF1R,IL2RG,IL4,MPL,OSM,PDGFRA,SMAD3 .

细胞分化

IL20,IL4,NOS2 ,SOCS2,SOCS5.

免疫反应

CEBPB,CRP,F2 ,STAT3;CSF1R,FCER2,IL4,NFKB1,YY1;CEBPB,CRP,CXCL9 ,IL20,NFKB1,NOS2 ,NR3C1 ;CXCL9 ,FAS,FCGR1A,IFNG,

IL2RA ,IL2RG,IL4R ,IL6ST ,IRF1,IRF9,ISG15,OAS1,OSM,PRLR,PTPN11,STUB1;


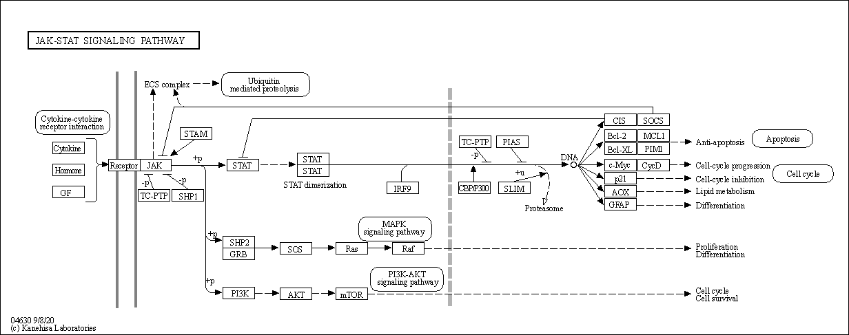
JAK-STATSignalingPathway通路图

 

图片来源https://www.genome.jp/pathway/map04630


产品特点

重复性高:样品之间

特异性强:熔解曲线单峰

高通量:一次可检测90个基因

便捷性:操作简单


相关产品

1.         WCGENE® mRNA cDNA kit

2.         WCGENE ® mRNA qPCR mix

3.         数据分析

4.         引物设计


参考文献

Zhu J J, Liu Y F, Zhang Y P, et al. VAMP3 and SNAP23 mediate the disturbed flow-induced endothelial microRNA secretion and smooth muscle hyperplasia[J]. Proceedings of the National Academy of Sciences, 2017, 114(31): 8271-8276.

Siqing Yue, Jie Yu, Yuan Kong, Haofeng Chen, Manfei Mao, Chenyang Ji, Shuai Shao, Jianqiang Zhu, Jinping Gu, Meirong Zhao,Metabolomic modulations of HepG2 cells exposed to bisphenol analogues,Environment International,Volume 129,2019,Pages 59-67,ISSN 0160-4120,

Xu X, Tao Y, Niu Y, et al. miR-125a-5p inhibits tumorigenesis in hepatocellular carcinoma. Aging (Albany NY). 2019;11(18):7639–7662. doi:10.18632/aging.102276


沃吉官网网址:JAK/STAT信号通路PCR ARRAY-沃吉基因 (wcgene.cn)